關于“山水管家”小程序入駐報道
關于“山水管家”小程序入駐報道
今日,山水公司經過線上有效宣傳,“山水管家”家政服務小程序已成功入駐若干家政服務商。公司本著政府推廣的“暖民心”家政服務,嚴格篩選有資質和資歷的家政服務人員和家政服務中介機構,依托本公司的“小程序”在線上接單,為居民朋友提供一切有需求的家政服務。蕪湖山水公司還創辦了家政培訓學校,對有意向進入家政服務行業的準從業者進行入門式培訓,對有更高追求者家政服務人員,培訓學校會提供初級、中級家政服務員培訓證書。讓有決心將家政工作做好的服務人員持證上崗,讓居民朋友對持證上崗的服務人員有更高的信任度。
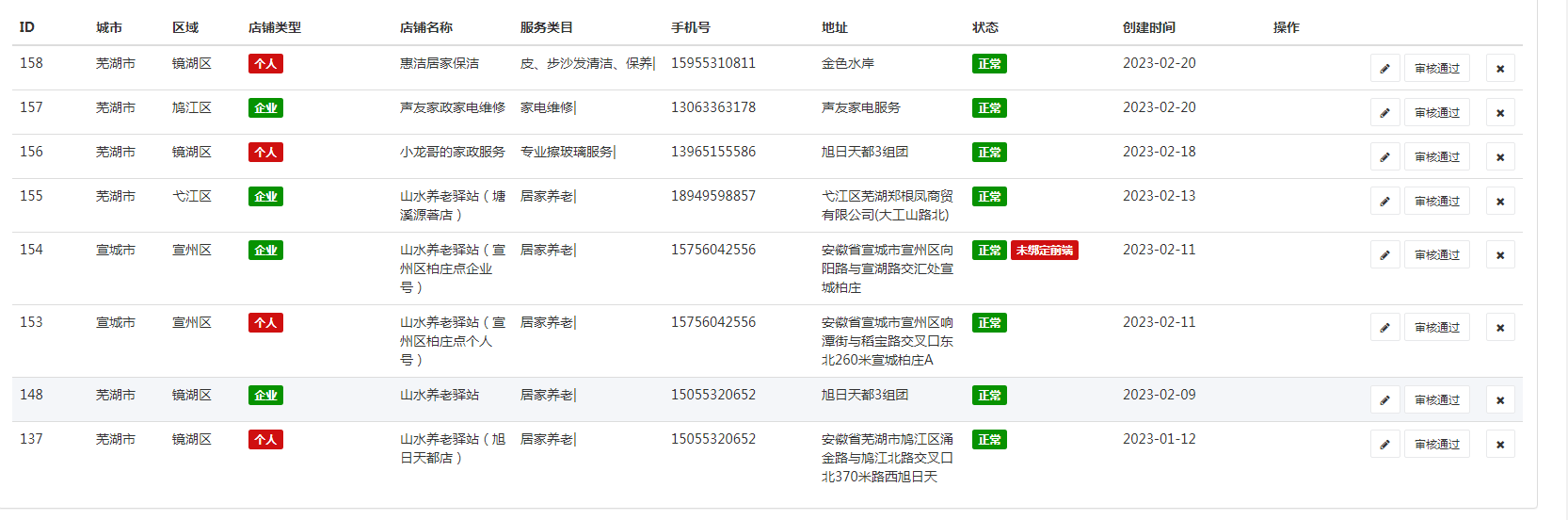
以上為部分家政企業和個人的入駐信息。“小程序”可全國注冊家政服務人員和家政服務企業。操作簡單易上手。下附小程序操作說明。
評論
-
管理員剛剛
暫無任何留言!





